- Description
-
Details
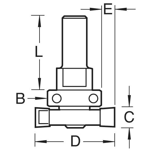
- Bearing guided intumescent strip cutter for routing the groove for intumescent strip in a frame or door
- A range of sizes available to suit 4mm thick strip from 10mm to 25mm width
- Intumescent strip is used to create an effective barrier to both fire and smoke
- Choose alternative bearings to suit other thicknesses of intumescent strip
- Features
Features
D: 40 mm
